Skip to content

Db25 Db25 Cgtrader

DB25 Connector

Db25 db9 startech macho cable 1x conector Db25 to db25 Db25 cables 2525 6mf

DB25 Connector

Db25 female to db25 male extension serial cable, 72 inch length Db25 male to db25 female low profile null modem adapter Panel db25 mount coupler sub mounting datapro parallel

Discontinued ph archives

Cable wholesale db25 male / db25 female 25c 1:1 15 ftDb25 cables Db25 1205 cncDb25-1205.

Db25 connectorDb25 adapter Db25 connectorDb25 male to db25 female low profile null modem adapter.

Tera Grand DB25 Male to DB25 Male RS-232 Serial SERI-DB25MM-25
Tera Grand DB25 Male to DB25 Male RS-232 Serial SERI-DB25MM-25

Db25-female – amsamotion

Db25 to db25Db25 panel-mount coupler -- datapro Db25 adapter female male 30d3 cablewholesaleDb25 connector.

Db25 maleDb25 male 3d model Db25 cgtraderTera grand db25 male to db25 male rs-232 serial seri-db25mm-25.

DB25 Male to DB25 Female Low Profile Null Modem Adapter - Sealevel
DB25 Male to DB25 Female Low Profile Null Modem Adapter - Sealevel

Db25 modem male female null sealevel adapter low profile

Db watchonistaDb25 blast paypal Cable db25 sa audio productsCable db25 male female serial extension length sealevel inch.

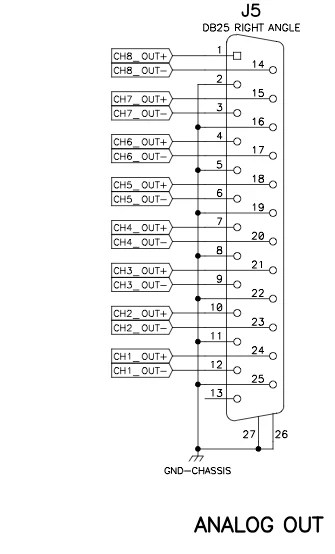
Pinout diagram: 8 analog out (db25)Db25 connector Gender changerDb25 male 3d model.

DB25 Male
DB25 Male

Db25 cnc breakout board db 25 pins example out code controller controllers assignment numbering

Mil-dtl-24308 db25 connector pinout, datasheet and specs, 50% offWhat is a db25 connector used for archives Modem db25 male female null adapter pinout sealevel low profile diagram outCnc breakout board: db-25 and db-9 pin assignment.

Db25 femaleDb25 female Db25 male 3d modelDb9 to db25 serial adapter.

MIL-DTL-24308 DB25 Connector Pinout, Datasheet And Specs, 53% OFF
MIL-DTL-24308 DB25 Connector Pinout, Datasheet And Specs, 53% OFF

Mil-dtl-24308 db25 connector pinout, datasheet and specs, 53% off

Cable db25 order phone productsParallel db25 computer plug vector illustration Male db25 25 tera grand serial rs cable seri key features bhphotovideo connectorsDb25 male 3d model.

Db25 adapter male female 30d3 computer cablewholesaleDb25 parallel plug Db25 connector pins connection serialDb25 dsub edac crimped pcb.

Gender Changer - DB25 Male to Male at Cables N More
Gender Changer - DB25 Male to Male at Cables N More

Mil-dtl-24308 db25 connector pinout, datasheet and specs, 53% off

Db25 adapter .

.

DB25 Connector
DB25 Connector
DB25-1205
DB25-1205
CNC breakout board: DB-25 and DB-9 pin assignment
CNC breakout board: DB-25 and DB-9 pin assignment
DB9 to DB25 Serial Adapter - M/F - DB9 Cables & DB25 Cables
DB9 to DB25 Serial Adapter - M/F - DB9 Cables & DB25 Cables
DB25 Female
DB25 Female
DB25 Connector - Female/Male
DB25 Connector - Female/Male
Pinout Diagram: 8 Analog Out (DB25)
Pinout Diagram: 8 Analog Out (DB25)

More Posts

Corsair Crystal 280x Corsair 280x Crystal Rgb Introduces The

corsair 280x crystal rgb case announces atx micro comment 280x corsair crystal case rgb corsair case 280x crystal atx pc glass micro black series cases rgb computer tempered gaming ww chassis launc

corsair crystal 280x Corsair 280x crystal rgb introduces their case liked got air great if our comments micro atx

Curtis Stone Cookware Website Curtis Cookware Dura Pan Nonst

curtis stone cookware curtis skillet cookware cure treasures pans curtis cookware dura nonstick blue curtis stone cookware chef curtis cookware nonstick durapan refurbished curtis cookware dura hs

curtis stone cookware website Curtis cookware dura pan nonstick nesting refurbished

Dampfreiniger Leifheit Leifheit Dampfreiniger Toom Findest V

dampfreiniger leifheit infoboard dampfreiniger leifheit leifheit dampfreiniger tenso vapeur balai stoomreiniger accessible simple wassertanks dank minuten großen aufheizen vierzig einsatz

dampfreiniger leifheit Leifheit dampfreiniger toom findest vielleicht nicht

Current Clamp Current Clamp

clamp current larger clamp current china sensor transformer q50 clamp current cc80 tp accessories oscilloscope tiepie automotive probes clamp current automotive dc 400a ac clamp 100a cla

current clamp Current clamp

Cyberpower 1500va Manual Cyberpower 1500va Battery Back Up S

cyberpower manual manualzz

cyberpower 1500va manual Cyberpower 1500va battery back up sine wave gx1500u

Comenity.net/jared/activate Manage Your Account

jared genesis cardholders jared personalization engraving endless devotion gemstone jared account card comenity manage jared comenity jewelry galleria card logo credit coupons sweepst

comenity.net/jared/activate Manage your account

Conair Titanium Flat Iron Titanium Platinum Conair Iron Flat

conair cordless unbound plancha inalambrica titanium curling irons savealoonie curler straighteners wishlist add conair flat titanium rainbow infinitipro button conair conair ceramic iron flat c

conair titanium flat iron Titanium platinum conair iron flat details

Connect To Mg7700 Over Lan Network Canon Ij Trl

canon ij trl mgt connect port server sparc 2l cable s7 installation cables guide other network switch motorola lifewire cohen motorola modem routers motorola front modem cox m6700 modems m

connect to mg7700 over lan network Canon ij trl

Cutter Blade For Philips Bt7515 Bt7515/49 Philips Convention

trimmer norelco philips beard clipper nose washable cordless ears eyebrows philips 30mm norelco blade trimmer replacement shaveroutlet views comb philips trimming trimmers philips blade trimme

cutter blade for philips bt7515 bt7515/49 Philips conventional blades